服務熱線
180-5003-0233

1.本實用新型涉及隔膜分切領域,特別涉及一種鋰電池隔膜麻豆日逼网站。
背景技術:
2.鋰電池是一類由鋰金屬或鋰合金為正/負極麻豆免费视频下载、使用非水電解質溶液的電池。在鋰電池的結構中,隔膜是關鍵的內層組件之一。隔膜的主要作用是使電池的正、負極分隔開來,防止兩極接觸而短路,此外還具有能使電解質離子通過的功能。隔膜的性能決定了電池的界麵結構、內阻等,直接影響電池的容量、循環以及安全性能等特性,性能優異的隔膜對提高電池的綜合性能具有重要的作用。在鋰電池隔膜製造後,需要要根據鋰電池的不同規格以及客戶的需求對隔膜進行分切。為此,需要一種鋰電池隔膜麻豆日逼网站快速堆對隔膜進行分切。
技術實現要素:
3.本實用新型的主要目的在於提供一種鋰電池隔膜麻豆日逼网站,可以有效解決背景技術中提到的問題。
4.為實現上述目的,本實用新型采取的技術方案為:
5.一種鋰電池隔膜麻豆日逼网站,包括設備底座,所述設備底座上表麵位於中間位置固定安裝有定位架體,所述定位架體上開設有安裝通孔,所述定位架體內位於安裝有麻豆日逼网站構,所述麻豆日逼网站構包括第一輥輪、驅動軸、分切刀片、刀片豁口、第二輥輪和軸承,所述驅動軸活動安裝於安裝通孔,所述定位架體上方的驅動軸上固定安裝有第一輥輪,所述定位架體下方的驅動軸上固定安裝有第二輥輪,所述第一輥輪上固定安裝有分切刀片,所述第二輥輪上開設有刀片豁口,所述定位架體一側固定安裝有驅動組件,所述驅動組件包括組件外殼、驅動電機、驅動齒輪、從動齒輪和對接軸,所述組件外殼固定安裝於定位架體上,所述組件外殼內固定安裝有驅動電機,所述驅動電機的輸出末端固定安裝有驅動齒輪,所述對接軸連接在驅動軸上,所述驅動軸上固定安裝有從動齒輪。
6.進一步而言,所述驅動軸上設有軸承,所述驅動軸通過軸承活動安裝在定位架體上。
7.進一步而言,所述第一輥輪和第二輥輪通過驅動軸活動安裝在定位架體內,所述分切刀片通過刀片豁口嵌入第二輥輪內,所述軸承通過安裝通孔安裝在定位架體內,啟動驅動電機之後驅動齒輪就會帶動從動齒輪旋轉,從而使第一輥輪和第二輥輪旋轉。
8.進一步而言,所述驅動電機、驅動齒輪、從動齒輪和對接軸均設有兩組,且均位於組件外殼內。
9.進一步而言,所述組件外殼通過螺絲固定在定位架體一側,所述驅動齒輪與從動齒輪齧合在一起,所述對接軸一端固定在驅動軸上,所述對接軸另一端固定在從動齒輪上。
10.進一步而言,所述定位架體通過螺絲固定在設備底座上。
11.與現有技術相比,本實用新型具有如下有益效果:
12.使用時可以將鋰電池隔膜置於第一輥輪和第二輥輪之間,鋰電池隔膜置於第一輥輪和第二輥輪之間之後可以啟動驅動電機,啟動驅動電機之後驅動齒輪就會帶動從動齒輪旋轉,從而使第一輥輪和第二輥輪旋轉,第一輥輪和第二輥輪旋轉之後其會帶動鋰電池隔膜向前運動,鋰電池隔膜向前運動一端距離之後分切刀片會嵌入刀片豁口中,從而將隔膜快速分切合適規格。
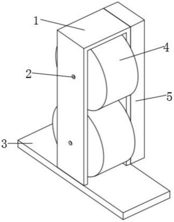
附圖說明
13.圖1為本實用新型的整體結構示意圖;
14.圖2為本實用新型的麻豆日逼网站構示意圖;
15.圖3為本實用新型的驅動機構示意圖。
16.圖中:1、定位架體;2、安裝通孔;3、設備底座;4、麻豆日逼网站構;401、第一輥輪;402、驅動軸;403、分切刀片;404、刀片豁口;405、第二輥輪;406、軸承;5、驅動組件;501、組件外殼;502、驅動電機;503、驅動齒輪;504、從動齒輪;505、對接軸。
具體實施方式
17.為使本實用新型實現的技術手段、創作特征、達成目的與功效易於明白了解,下麵結合具體實施方式,進一步闡述本實用新型。
18.如圖1~圖3所示,一種鋰電池隔膜麻豆日逼网站,包括設備底座3,設備底座3上表麵位於中間位置固定安裝有定位架體1,定位架體1上開設有安裝通孔2,定位架體1內位於安裝有麻豆日逼网站構4,定位架體1一側固定安裝有驅動組件5,定位架體1通過螺絲固定在設備底座3上。
19.定位架體1一側固定安裝有驅動組件5,驅動組件5包括組件外殼501、驅動電機502、驅動齒輪503、從動齒輪504和對接軸505,組件外殼501固定安裝於定位架體1上,組件外殼501內固定安裝有驅動電機502,驅動電機502的輸出末端固定安裝有驅動齒輪503,對接軸505連接在驅動軸402上,驅動軸402上固定安裝有從動齒輪504,使用時可以將鋰電池隔膜置於第一輥輪401和第二輥輪405之間,鋰電池隔膜置於第一輥輪401和第二輥輪405之間之後可以啟動驅動電機502,啟動驅動電機502之後驅動齒輪503就會帶動從動齒輪504旋轉,從而使對接軸505旋轉。
20.定位架體1內位於安裝有麻豆日逼网站構4,麻豆日逼网站構4包括第一輥輪401、驅動軸402、分切刀片403、刀片豁口404、第二輥輪405和軸承406,驅動軸402活動安裝於安裝通孔2,定位架體1上方的驅動軸402上固定安裝有第一輥輪401,定位架體1下方的驅動軸402上固定安裝有第二輥輪405,第一輥輪401上固定安裝有分切刀片403,第二輥輪405上開設有刀片豁口404,對接軸505旋轉之後其會帶動第一輥輪401和第二輥輪405旋轉,第一輥輪401和第二輥輪405旋轉之後其會帶動鋰電池隔膜向前運動,鋰電池隔膜向前運動一端距離之後分切刀片403會嵌入刀片豁口404中,從而將隔膜快速分切合適規格。
21.需要說明的是,本實用新型為一種鋰電池隔膜麻豆日逼网站,在實際使用時,首先將鋰電池隔膜置於第一輥輪401和第二輥輪405之間,鋰電池隔膜置於第一輥輪401和第二輥輪405之間之後可以啟動驅動電機502,由於驅動齒輪503與從動齒輪504齧合在一起,對接軸505一端固定在驅動軸402上,對接軸505另一端固定在從動齒輪504上,於是啟動驅動電機502
之後驅動齒輪503就會帶動從動齒輪504旋轉,從而使對接軸505旋轉,由於驅動軸402上設有軸承406,驅動軸402通過軸承406活動安裝在定位架體1上,第一輥輪401和第二輥輪405通過驅動軸402活動安裝在定位架體1內,分切刀片403通過刀片豁口404嵌入第二輥輪405內,於是對接軸505旋轉之後其會帶動第一輥輪401和第二輥輪405旋轉,第一輥輪401和第二輥輪405旋轉之後其會帶動鋰電池隔膜向前運動,鋰電池隔膜向前運動一端距離之後分切刀片403會嵌入刀片豁口404中,從而將隔膜快速分切合適規格,同時在使用使用過程中可以更換不直徑的第一輥輪401和第二輥輪405,從而將鋰電池隔膜分切成不同的長度。
22.最後應說明的是:以上所述僅為本實用新型的優選實施例而已,並不用於限製本實用新型,盡管參照前述實施例對本實用新型進行了詳細的說明,對於本領域的技術人員來說,其依然可以對前述各實施例所記載的技術方案進行修改,或者對其中部分技術特征進行等同替換。凡在本實用新型的精神和原則之內,所作的任何修改、等同替換、改進等,均應包含在本實用新型的保護範圍之內。
技術特征:
1.一種鋰電池隔膜麻豆日逼网站,其特征在於:包括設備底座(3),所述設備底座(3)上表麵位於中間位置固定安裝有定位架體(1),所述定位架體(1)上開設有安裝通孔(2),所述定位架體(1)內位於安裝有麻豆日逼网站構(4),所述麻豆日逼网站構(4)包括第一輥輪(401)、驅動軸(402)、分切刀片(403)、刀片豁口(404)、第二輥輪(405)和軸承(406),所述驅動軸(402)活動安裝於安裝通孔(2),所述定位架體(1)上方的驅動軸(402)上固定安裝有第一輥輪(401),所述定位架體(1)下方的驅動軸(402)上固定安裝有第二輥輪(405),所述第一輥輪(401)上固定安裝有分切刀片(403),所述第二輥輪(405)上開設有刀片豁口(404),所述定位架體(1)一側固定安裝有驅動組件(5),所述驅動組件(5)包括組件外殼(501)、驅動電機(502)、驅動齒輪(503)、從動齒輪(504)和對接軸(505),所述組件外殼(501)固定安裝於定位架體(1)上,所述組件外殼(501)內固定安裝有驅動電機(502),所述驅動電機(502)的輸出末端固定安裝有驅動齒輪(503),所述對接軸(505)連接在驅動軸(402)上,所述驅動軸(402)上固定安裝有從動齒輪(504)。2.根據權利要求1所述的一種鋰電池隔膜麻豆日逼网站,其特征在於:所述驅動軸(402)上設有軸承(406),所述驅動軸(402)通過軸承(406)活動安裝在定位架體(1)上。3.根據權利要求2所述的一種鋰電池隔膜麻豆日逼网站,其特征在於:所述第一輥輪(401)和第二輥輪(405)通過驅動軸(402)活動安裝在定位架體(1)內,所述分切刀片(403)通過刀片豁口(404)嵌入第二輥輪(405)內,所述軸承(406)通過安裝通孔(2)安裝在定位架體(1)內。4.根據權利要求3所述的一種鋰電池隔膜麻豆日逼网站,其特征在於:所述驅動電機(502)、驅動齒輪(503)、從動齒輪(504)和對接軸(505)均設有兩組,且均位於組件外殼(501)內。5.根據權利要求4所述的一種鋰電池隔膜麻豆日逼网站,其特征在於:所述組件外殼(501)通過螺絲固定在定位架體(1)一側,所述驅動齒輪(503)與從動齒輪(504)齧合在一起,所述對接軸(505)一端固定在驅動軸(402)上,所述對接軸(505)另一端固定在從動齒輪(504)上。6.根據權利要求5所述的一種鋰電池隔膜麻豆日逼网站,其特征在於:所述定位架體(1)通過螺絲固定在設備底座(3)上。
技術總結
本實用新型公開了一種鋰電池隔膜麻豆日逼网站,涉及隔膜分切領域。包括設備底座,設備底座上表麵位於中間位置固定安裝有定位架體,定位架體上開設有安裝通孔,定位架體內位於安裝有麻豆日逼网站構,麻豆日逼网站構包括第一輥輪、驅動軸、分切刀片、刀片豁口、第二輥輪和軸承,定位架體一側固定安裝有驅動組件,驅動組件包括組件外殼、驅動電機、驅動齒輪、從動齒輪和對接軸。鋰電池隔膜置於第一輥輪和第二輥輪之間之後可以啟動驅動電機,啟動驅動電機之後驅動齒輪就會帶動從動齒輪旋轉,使第一輥輪和第二輥輪旋轉,第一輥輪和第二輥輪旋轉之後其會帶動鋰電池隔膜向前運動,鋰電池隔膜向前運動一端距離之後分切刀片會嵌入刀片豁口中,從而將隔膜快速分切合適規格。切合適規格。切合適規格。
技術研發人員:薑誌平 郭燕
受保護的技術使用者:深圳市致遠鋰能科技有限公司
技術研發日:2022.08.18
技術公布日:2022/12/20