服務熱線
180-5003-0233

1.本實用新型涉及分條機排刀技術領域,尤其涉及分條機智能自動排刀機構。
背景技術:
2.分條機是一種對寬卷麻豆免费视频下载進行縱向切割的設備,根據其使用範圍可分為以下幾類:用於分條紙張、皮革、布類、塑料、薄膜等等所需求的行業,分條機排刀時一般先確定兩刀軸端麵相差,找到基準隔套固定不動,再根據分條寬度排刀,上為內刀,下為外刀,即上麵兩把刀左右外側兩邊為剪切麵,下刀兩個內側為剪切麵,刀隙是根據麻豆免费视频下载厚度為基數計數。
3.目前分條機排刀大多為人工操作,且因精度需要反複調整刀片的位置,導致排刀過程較為繁瑣不便,影響分條機排刀的便捷性和效率,同時影響工作人員的勞動強度。
技術實現要素:
4.本實用新型的目的是為了解決現有技術中分條機人工排刀因精度需要反複調整刀片的位置,導致排刀過程較為繁瑣不便,影響分條機排刀的便捷性和效率,同時影響工作人員勞動強度的問題,而提出的分條機智能自動排刀機構。
5.為了實現上述目的,本實用新型采用了如下技術方案:
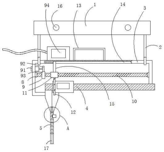
6.分條機智能自動排刀機構,包括安裝板,所述安裝板的下表麵固定連接有兩個對稱分布的掛鉤,兩個所述掛鉤的外壁共同活動連接有固定板,所述固定板的底端固定連接有電子遊標卡尺,所述電子遊標卡尺的固定端和活動端均固定連接有卡板,其中一個所述卡板的外壁開設有固定通孔,所述固定通孔的孔壁固定連接有位移傳感器,所述固定板的杆壁固定連接有兩個滾動軸承,兩個所述滾動軸承的內壁共同固定連接有螺杆,所述螺杆的杆壁螺紋連接有螺母,所述螺母的兩側外壁均固定連接有固定塊,所述固定塊的外壁與電子遊標卡尺移動端的外壁固定連接,所述固定板的杆壁開設有安裝孔,且安裝孔的孔壁固定連接有驅動機構。
7.優選的,所述驅動機構包括馬達,所述馬達的外壁與固定板的安裝孔內壁固定連接,所述馬達的輸出端固定連接有主動齒輪,所述螺杆的杆壁固定套接有從動齒輪,所述從動齒輪的外壁與主動齒輪的外壁相互齧合,所述固定板的上表麵固定連接有控製器。
8.優選的,所述固定板的上表麵固定連接有把手。
9.優選的,所述固定板的下表麵開設有限位槽,所述限位槽的槽壁活動連接有限位杆,所述限位杆的底端與螺母的外壁固定連接。
10.優選的,所述安裝板的上表麵開設有兩個對稱分布的連接通孔。
11.優選的,兩個所述卡板的下表麵均開設有弧形凹槽。
12.與現有技術相比,本實用新型提供了分條機智能自動排刀機構,具備以下有益效果:
13.該分條機智能自動排刀機構,通過設置有馬達、電子遊標卡尺和位移傳感器,安裝板通過連接通孔和螺栓安裝在分條機上,之後分條機需要排刀的時候,首先固定第一個刀
片,之後把電子遊標卡尺固定端的卡板移動到第一刀片處,之後計算第一刀片和第二刀片的間隙,同時在控製器上設置間隙數據,接著啟動馬達,馬達通過主動齒輪和從動齒輪使螺杆旋轉,螺杆旋轉使螺母移動,螺母通過固定塊使電子遊標卡尺的移動端移動,電子遊標卡尺的移動端通過卡板推動第二刀片靠近第一刀片,此時位移傳感器給控製器發生信號,在位移傳感器檢測兩個卡板直接間隙與排刀間隙數據一致時發生信號給控製器,控製器控製馬達停止轉動,保障刀片安裝位置精確,且不需要反複調整,該機構能夠有效提高分條機排刀的便捷性和效率,同時能夠降低工作人員的勞動強度。
14.該裝置中未涉及部分均與現有技術相同或可采用現有技術加以實現,本實用新型能夠有效提高分條機排刀的便捷性和效率,同時能夠降低工作人員的勞動強度。
附圖說明
15.圖1為本實用新型提出的分條機智能自動排刀機構的結構示意圖;
16.圖2為本實用新型提出的分條機智能自動排刀機構a部分的結構示意圖。
17.圖中:1安裝板、2掛鉤、3固定板、4電子遊標卡尺、5卡板、6固定通孔、7位移傳感器、8滾動軸承、9驅動機構、91馬達、92主動齒輪、93從動齒輪、94控製器、10螺杆、11螺母、12固定塊、13把手、14限位槽、15限位杆、16連接通孔、17弧形凹槽。
具體實施方式
18.下麵將結合本實用新型實施例中的附圖,對本實用新型實施例中的技術方案進行清楚、完整地描述,顯然,所描述的實施例僅僅是本實用新型一部分實施例,而不是全部的實施例。
19.在本實用新型的描述中,需要理解的是,術語“上”、“下”、“前”、“後”、“左”、“右”、“頂”、“底”、“內”、“外”等指示的方位或位置關係為基於附圖所示的方位或位置關係,僅是為了便於描述本實用新型和簡化描述,而不是指示或暗示所指的裝置或元件必須具有特定的方位、以特定的方位構造和操作,因此不能理解為對本實用新型的限製。
20.參照圖1
2,分條機智能自動排刀機構,包括安裝板1,安裝板1的下表麵固定連接有兩個對稱分布的掛鉤2,兩個掛鉤2的外壁共同活動連接有固定板3,固定板3的底端固定連接有電子遊標卡尺4,電子遊標卡尺4的固定端和活動端均固定連接有卡板5,其中一個卡板5的外壁開設有固定通孔6,固定通孔6的孔壁固定連接有位移傳感器7,固定板3的杆壁固定連接有兩個滾動軸承8,兩個滾動軸承8的內壁共同固定連接有螺杆10,螺杆10的杆壁螺紋連接有螺母11,螺母11的兩側外壁均固定連接有固定塊12,固定塊12的外壁與電子遊標卡尺4移動端的外壁固定連接,固定板3的杆壁開設有安裝孔,且安裝孔的孔壁固定連接有驅動機構9。
21.驅動機構9包括馬達91,馬達91的外壁與固定板3的安裝孔內壁固定連接,馬達91的輸出端固定連接有主動齒輪92,螺杆10的杆壁固定套接有從動齒輪93,從動齒輪93的外壁與主動齒輪92的外壁相互齧合,固定板3的上表麵固定連接有控製器94。
22.固定板3的上表麵固定連接有把手13,把手13能夠方便取拿排刀機構。
23.固定板3的下表麵開設有限位槽14,限位槽14的槽壁活動連接有限位杆15,限位杆15的底端與螺母11的外壁固定連接。
24.安裝板1的上表麵開設有兩個對稱分布的連接通孔16,連接通孔16能夠方便在分條機上安裝排刀機構。
25.兩個卡板5的下表麵均開設有弧形凹槽17,弧形凹槽17能夠方便卡板5沿著軸外壁移動刀片,馬達91和位移傳感器7均通過導線與控製器94的連接端電性連接,此電性連接為現有技術,同時馬達91、控製器94和位移傳感器7也為現有技術,且屬於本領域人員慣用技術手段,因此不加以贅述。
26.本實用新型中,安裝板1通過連接通孔16和螺栓安裝在分條機上,之後分條機需要排刀的時候,首先固定第一個刀片,之後把電子遊標卡尺4固定端的卡板5移動到第一刀片處,之後計算第一刀片和第二刀片的間隙,同時在控製器94上設置間隙數據,接著啟動馬達91,馬達91通過主動齒輪92和從動齒輪93使螺杆10旋轉,螺杆10旋轉使螺母11移動,螺母11通過固定塊12使電子遊標卡尺4的移動端移動,電子遊標卡尺4的移動端通過卡板5推動第二刀片靠近第一刀片,此時位移傳感器7給控製器94發生信號,在位移傳感器7檢測兩個卡板5直接間隙與排刀間隙數據一致時發生信號給控製器94,控製器94控製馬達91停止轉動,保障刀片安裝位置精確,且不需要反複調整,該機構能夠有效提高分條機排刀的便捷性和效率,同時能夠降低工作人員的勞動強度。
27.以上所述,僅為本實用新型較佳的具體實施方式,但本實用新型的保護範圍並不局限於此,任何熟悉本技術領域的技術人員在本實用新型揭露的技術範圍內,根據本實用新型的技術方案及其實用新型構思加以等同替換或改變,都應涵蓋在本實用新型的保護範圍之內。
技術特征:
1.分條機智能自動排刀機構,包括安裝板(1),其特征在於,所述安裝板(1)的下表麵固定連接有兩個對稱分布的掛鉤(2),兩個所述掛鉤(2)的外壁共同活動連接有固定板(3),所述固定板(3)的底端固定連接有電子遊標卡尺(4),所述電子遊標卡尺(4)的固定端和活動端均固定連接有卡板(5),其中一個所述卡板(5)的外壁開設有固定通孔(6),所述固定通孔(6)的孔壁固定連接有位移傳感器(7),所述固定板(3)的杆壁固定連接有兩個滾動軸承(8),兩個所述滾動軸承(8)的內壁共同固定連接有螺杆(10),所述螺杆(10)的杆壁螺紋連接有螺母(11),所述螺母(11)的兩側外壁均固定連接有固定塊(12),所述固定塊(12)的外壁與電子遊標卡尺(4)移動端的外壁固定連接,所述固定板(3)的杆壁開設有安裝孔,且安裝孔的孔壁固定連接有驅動機構(9)。2.根據權利要求1所述的分條機智能自動排刀機構,其特征在於,所述驅動機構(9)包括馬達(91),所述馬達(91)的外壁與固定板(3)的安裝孔內壁固定連接,所述馬達(91)的輸出端固定連接有主動齒輪(92),所述螺杆(10)的杆壁固定套接有從動齒輪(93),所述從動齒輪(93)的外壁與主動齒輪(92)的外壁相互齧合,所述固定板(3)的上表麵固定連接有控製器(94)。3.根據權利要求1所述的分條機智能自動排刀機構,其特征在於,所述固定板(3)的上表麵固定連接有把手(13)。4.根據權利要求1所述的分條機智能自動排刀機構,其特征在於,所述固定板(3)的下表麵開設有限位槽(14),所述限位槽(14)的槽壁活動連接有限位杆(15),所述限位杆(15)的底端與螺母(11)的外壁固定連接。5.根據權利要求1所述的分條機智能自動排刀機構,其特征在於,所述安裝板(1)的上表麵開設有兩個對稱分布的連接通孔(16)。6.根據權利要求1所述的分條機智能自動排刀機構,其特征在於,兩個所述卡板(5)的下表麵均開設有弧形凹槽(17)。
技術總結
本實用新型涉及分條機排刀技術領域,且公開了分條機智能自動排刀機構,包括安裝板,所述安裝板的下表麵固定連接有兩個對稱分布的掛鉤,兩個所述掛鉤的外壁共同活動連接有固定板,所述固定板的底端固定連接有電子遊標卡尺,所述電子遊標卡尺的固定端和活動端均固定連接有卡板,其中一個所述卡板的外壁開設有固定通孔,所述固定通孔的孔壁固定連接有位移傳感器,所述固定板的杆壁固定連接有兩個滾動軸承,兩個所述滾動軸承的內壁共同固定連接有螺杆,所述螺杆的杆壁螺紋連接有螺母,所述螺母的兩側外壁均固定連接有固定塊。本實用新型能夠有效提高分條機排刀的便捷性和效率,同時能夠降低工作人員的勞動強度。夠降低工作人員的勞動強度。夠降低工作人員的勞動強度。
技術研發人員:劉臣偉 朱其福
受保護的技術使用者:江蘇海偉科智能裝備有限公司
技術研發日:2021.03.01
技術公布日:2021/11/9