服務熱線
180-5003-0233

本發明涉及一種薄膜工業生產所用麻豆日逼网站的結構改良,尤其涉及一種f型麻豆日逼网站的收卷壓輥裝置及其調整方法。
背景技術:
目前的麻豆日逼网站主要有a型和f型,a型機通常在兩側收卷,有獨立的收卷工位配置收卷電機和獨立壓輥,收卷質量可靠,但設備造價高;f型麻豆日逼网站,通常在一側收卷,一般配置上下兩根收卷驅動芯軸,每根收卷芯軸配一支收卷壓輥,造價相對較低,但在一根收卷軸上同時收兩個或以上成品卷時,由於薄膜總會存在厚度不均的現象,使用一根壓輥,會造成壓輥和局部厚度有偏差的膜卷之間出現間隙,壓輥不能與成品膜卷良好接觸,造成膜卷收卷褶皺不平,影響產品質量。為解決這個問題,有的設備將一根壓輥改為多個偏心輥,利用偏心裝置補償不同位置的直徑偏差,但對於收卷壓力敏感的產品,這種補償效果不佳;還有設備采用多個獨立壓輥,通過壓輥的自重進行收卷,這樣的裝置不能調節壓力,也無法滿足薄膜類產品的收卷要求。
現有f型麻豆日逼网站在一根收卷軸上同時收兩個或以上成品卷時,由於薄膜總會存在厚度不均的現象,使用一根壓輥,會造成壓輥和局部厚度有偏差的膜卷之間出現間隙,壓輥不能與成品膜卷良好接觸,造成膜卷收卷褶皺不平,影響產品質量。對於雙向拉伸聚丙烯薄膜,特別是經過預塗eva的薄膜,表麵張力大、宜粘連,收卷難度大,對於收卷張力和壓力都極為敏感,這樣的薄膜在現有的f型麻豆日逼网站上收卷多個成品卷就非常困難。
技術實現要素:
為了克服上述現有技術的不足,本發明的目的旨在提出一種f型麻豆日逼网站的收卷壓輥裝置及其調整方法,解決收卷間隙可適配調整的問題。
本發明的上述第一個目的,其賴以實現的技術方案為:一種f型麻豆日逼网站的收卷壓輥裝置,其特征在於:包括帶線性滑軌的連接件、一個以上移動滑塊及基於每個移動滑塊調節定位的壓輥套件,所述壓輥套件中壓輥臂支架一端固接於移動滑塊、另一端設有條形孔及穿接其內導向可調的壓輥軸,所述條形孔的長度向與壓輥軸、膜卷軸的連軸線夾角小於10°,並且壓輥臂支架設有分別對應壓輥軸兩端的一組收卷間隙微調單元,壓輥軸受驅調整並定位收卷間隙。
進一步地,所述收卷間隙微調單元由上旋調節螺栓、下旋調節螺栓及配套的鎖緊螺母構成,鎖緊螺母鬆開狀態下各調節螺栓退位讓出條形孔的活動空間或抵推壓輥軸導向移動,鎖緊螺母鎖緊狀態下兩個調節螺栓雙向抵接於壓輥軸並定位。
進一步地,所述線性滑軌的上側端麵和下側端麵設有居中定位的防脫凹槽,所述移動滑塊設有對應卡接於防脫凹槽中的凸肋。
進一步地,所述線性滑軌上套接有兩個移動滑塊,且對應各移動滑塊所設壓輥套件的收卷間隙獨立可調。
更進一步地,所述移動滑塊側向延伸有翼板,且翼板上穿接設有與連接件相抵定位移動滑塊的鎖緊螺栓。
本發明的上述第二個目的,其賴以實現的技術方案包括步驟:s1、根據麻豆日逼网站的收卷薄膜寬度分段調節對應段位中移動滑塊及所裝接的壓輥套件的橫向位置,直至所有段位均橫向中心對齊;
s2、對於任一段位的收卷薄膜,先旋鬆收卷間隙微調單元的鎖緊螺母,而後分別轉動上旋調節螺栓或下旋調節螺栓以退出位移空間、移動壓輥軸、雙向抵壓定位的順序進行收卷間隙調整,保持壓輥軸與膜卷軸相平行並旋緊鎖緊螺母保持定位;
s3、重複步驟s2直至完成對應所有段位的收卷間隙微調單元的調節定位。
本發明技術方案應用實施後的顯著效果為:在不修改麻豆日逼网站原收卷框架結構的前提下,通過增加滑軌和滑塊,更改壓輥臂支架和增加壓輥微調單元,達到了收卷壓輥可以左右移動定位,並且可以將每一組壓輥臂根據需要微調收卷壓輥和膜卷之間的間隙,解決了薄膜由於厚度偏差造成收卷間隙無法調整的問題,提高了薄膜收卷質量,尤其能夠滿足預塗膜的收卷質量要求。
附圖說明
圖1是本發明f型麻豆日逼网站的側向結構剖視圖。
具體實施方式
以下便結合實施例附圖,對本發明的具體實施方式作進一步的詳述,以使本發明技術方案更易於理解、掌握。
本發明技術方案致力於改善f型麻豆日逼网站的薄膜收卷質量,在現有f型麻豆日逼网站的基礎上進行改動,創新得出了一種f型麻豆日逼网站的收卷壓輥裝置及其調整方法。利用設備自帶的壓力控製裝置,改通常的單根壓輥為合適長度的數根短壓輥,每根壓輥對應一個成品卷,並增加壓輥徑向位置的微調機構。既能控製收卷壓力,又能微調壓輥保證與成品膜卷表麵良性接觸,顯著改善收卷質量。
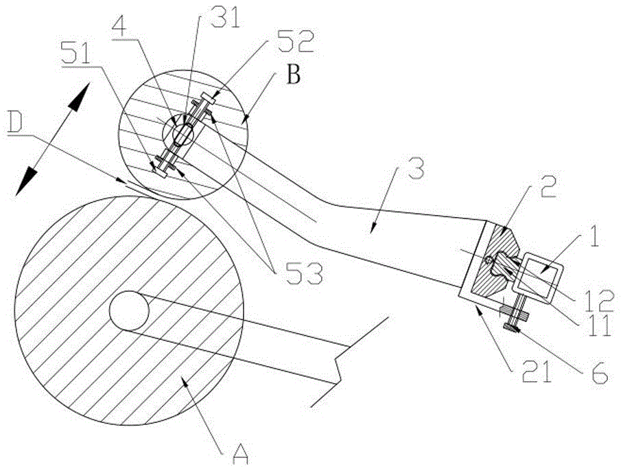
如圖1所示的優選實施例的側向結構剖視圖可見,該f型麻豆日逼网站的收卷壓輥裝置概述的技術方案為:其包括帶線性滑軌11的連接件1、一個以上移動滑塊2及基於每個移動滑塊2調節定位的壓輥套件,任一壓輥套件中壓輥臂支架3一端固接於移動滑塊2、另一端設有條形孔31及穿接其內導向可調的壓輥軸4,該條形孔31的長度向與壓輥軸4、膜卷軸的連軸線夾角小於10°,並且壓輥臂支架3設有分別對應壓輥軸4兩端的各一組收卷間隙微調單元,壓輥軸4受驅調整並定位收卷間隙d。其中需要理解的是,其中連接件1的長度足量滿足所有膜卷的軸長之和。對應任一壓輥套件,其中壓輥軸兩端各配設一個壓輥臂支架,用於端平該壓輥軸,而該一組壓輥臂支架可以固定裝接在同一移動滑塊上,或者各自單獨裝接移動滑塊,在調節橫向位置後將移動滑塊定位鎖固即可。同時壓輥軸基於上述該條形孔中位置可調使其具備徑向位置、或等效為收卷間隙微調的能力。此外,上述每個壓輥套件的收卷間隙獨立可調,以滿足局部厚度有偏差的膜卷與壓輥接觸良好。
為更好地理解上述壓輥軸徑向微調的實現原理,圖是可見,該收卷間隙微調單元由上旋調節螺栓51、下旋調節螺栓52及配套的鎖緊螺母53構成,鎖緊螺母53鬆開狀態下各調節螺栓退位讓出條形孔的活動空間或抵推壓輥軸導向移動,鎖緊螺母鎖緊狀態下兩個調節螺栓雙向抵接於壓輥軸並定位,具體微調過程後文詳述。
從更具體的細節方麵來看,該線性滑軌11的上側端麵和下側端麵設有居中定位的防脫凹槽12,該移動滑塊2設有對應卡接於防脫凹槽12中的凸肋。由此,當壓輥臂支架3荷載收卷壓輥b且斜向偏置時,一定程度上抵消偏置力防止滑塊脫出,使得位移滑動更加順暢。
為實現上述移動滑塊調節橫向位置後的鎖固操作,該移動滑塊2側向延伸有翼板21,且翼板21上穿接設有與連接件1相抵定位移動滑塊的鎖緊螺栓6。
另一方麵,本發明同時提出了該收卷壓輥裝置的調整方法,具體涉及如下步驟。
s1、根據麻豆日逼网站的收卷薄膜寬度分段調節對應段位中移動滑塊及所裝接的壓輥套件的橫向位置,直至所有段位均橫向中心對齊。這是對應一根收卷軸上同時收兩個或以上成品膜卷a時,配置不同分段的收卷壓輥橫向定位,並按下述步驟進行獨立的收卷間隙調整。
s2、對於任一段位的收卷薄膜,先旋鬆收卷間隙微調單元的鎖緊螺母,而後分別轉動上旋調節螺栓或下旋調節螺栓以退出位移空間、移動壓輥軸、雙向抵壓定位的順序進行收卷間隙調整,保持壓輥軸與膜卷軸相平行並旋緊鎖緊螺母保持定位。具體地,當需要增大收卷間隙時,同時鬆開鎖緊螺母,然後旋鬆下旋調節螺栓52留出空間,並旋動上旋調節螺栓51將壓輥軸沿條形孔向上側微調,從而增大收卷壓輥與膜卷之間的間隙,到位後再將下旋調節螺栓52向下抵靠壓輥軸,由此防止作業過程中發生壓輥晃動,而後旋緊兩個對應的鎖緊螺母使得收卷間隙固定。同理地,當需要減小收卷間隙時,再同時鬆開鎖緊螺母,然後旋鬆上旋調節螺栓51留出空間,並旋動下旋調節螺栓52將壓輥軸沿條形孔向下側微調,從而縮減收卷壓輥與膜卷之間的間隙,到位後再將上旋調節螺栓向上抵靠壓輥軸,而後旋緊兩個對應的鎖緊螺母使得收卷間隙固定。
s3、重複前述步驟s2直至完成對應所有段位的收卷間隙微調單元的調節定位。而後即可正常實施收卷作業。
綜上結合圖示的實施例詳述及功能實現,本發明技術方案應用實施後的顯著效果:在不修改麻豆日逼网站原收卷框架結構的前提下,通過增加滑軌和滑塊,更改壓輥臂支架和增加壓輥微調單元,達到了收卷壓輥可以左右移動定位,並且可以將每一組壓輥臂根據需要微調收卷壓輥和膜卷之間的間隙,解決了薄膜由於厚度偏差造成收卷間隙無法調整的問題,提高了薄膜收卷質量,尤其能夠滿足預塗膜的收卷質量要求。
除上述實施例外,本發明還可以有其它實施方式。凡采用等同替換或等效變換形成的技術方案,均落在本發明所要求保護的範圍之內。
技術特征:
1.一種f型麻豆日逼网站的收卷壓輥裝置,其特征在於:包括帶線性滑軌的連接件、一個以上移動滑塊及基於每個移動滑塊調節定位的壓輥套件,所述壓輥套件中壓輥臂支架一端固接於移動滑塊、另一端設有條形孔及穿接其內導向可調的壓輥軸,所述條形孔的長度向與壓輥軸、膜卷軸的連軸線夾角小於10°,並且壓輥臂支架設有分別對應壓輥軸兩端的一組收卷間隙微調單元,壓輥軸受驅調整並定位收卷間隙。
2.根據權利要求1所述f型麻豆日逼网站的收卷壓輥裝置,其特征在於:所述收卷間隙微調單元由上旋調節螺栓、下旋調節螺栓及配套的鎖緊螺母構成,鎖緊螺母鬆開狀態下各調節螺栓退位讓出條形孔的活動空間或抵推壓輥軸導向移動,鎖緊螺母鎖緊狀態下兩個調節螺栓雙向抵接於壓輥軸並定位。
3.根據權利要求1所述f型麻豆日逼网站的收卷壓輥裝置,其特征在於:所述線性滑軌的上側端麵和下側端麵設有居中定位的防脫凹槽,所述移動滑塊設有對應卡接於防脫凹槽中的凸肋。
4.根據權利要求1所述f型麻豆日逼网站的收卷壓輥裝置,其特征在於:所述線性滑軌上套接有兩個移動滑塊,且對應各移動滑塊所設壓輥套件的收卷間隙獨立可調。
5.根據權利要求1、3或4所述f型麻豆日逼网站的收卷壓輥裝置,其特征在於:所述移動滑塊側向延伸有翼板,且翼板上穿接設有與連接件相抵定位移動滑塊的鎖緊螺栓。
6.一種f型麻豆日逼网站的收卷壓輥裝置的調整方法,其特征在於包括步驟:
s1、根據麻豆日逼网站的收卷薄膜寬度分段調節對應段位中移動滑塊及所裝接的壓輥套件的橫向位置,直至所有段位均橫向中心對齊;
s2、對於任一段位的收卷薄膜,先旋鬆收卷間隙微調單元的鎖緊螺母,而後分別轉動上旋調節螺栓或下旋調節螺栓以退出位移空間、移動壓輥軸、雙向抵壓定位的順序進行收卷間隙調整,保持壓輥軸與膜卷軸相平行並旋緊鎖緊螺母保持定位;
s3、重複步驟s2直至完成對應所有段位的收卷間隙微調單元的調節定位。
技術總結
本發明揭示了一種F型麻豆日逼网站的收卷壓輥裝置及其調整方法,裝置特征包括帶線性滑軌的連接件、一個以上移動滑塊及基於每個移動滑塊調節定位的壓輥套件,該壓輥套件中壓輥臂支架一端固接於移動滑塊、另一端設有條形孔及穿接其內導向可調的壓輥軸,該條形孔的長度向與壓輥軸、膜卷軸的連軸線夾角小於10°,並且壓輥臂支架設有分別對應壓輥軸兩端的一組收卷間隙微調單元,壓輥軸受驅調整並定位收卷間隙。應用該裝置及其調整設計,在不修改麻豆日逼网站原收卷框架結構的前提下,達到了收卷壓輥可以左右移動定位及按需調整收卷間隙,解決了薄膜由於厚度偏差造成收卷間隙無法調整的問題,提高了薄膜收卷質量,尤其能夠滿足預塗膜的收卷質量要求。
技術研發人員:陸國春;李文濤;吳軍
受保護的技術使用者:蘇州昆嶺薄膜工業有限公司
技術研發日:2019.12.27
技術公布日:2020.04.07