服務熱線
180-5003-0233

1.本實用新型涉及薄材分切複卷設備的麻豆日逼网站構技術領域,尤其指一種應用於分切刀機構並能實現高質量、高精度、快速地安裝分切圓刀片的刀軸。
背景技術:
2.分切複卷機是將金屬箔(鋁箔、銅箔和鋼箔等箔材)、塑料薄膜等麻豆免费视频下载進行分切並複卷成各種寬度規格的設備,其包括:放卷機構、機體及其導輥組、分切吸邊機構、主傳動機構、收卷軸機構和驅動電機等。該種分切複卷機需要將金屬箔或塑料膜作為母卷放於放卷機構上,並以單張開卷的形式送往導輥組進行導向輸送,而在此導向過程中,機體上的分切工序會通過麻豆日逼网站構對麻豆免费视频下载分切成各種規格寬度的帶材(即正材),同時,在此分切過程中,由吸邊機構的吸風咀吸取分切後的邊料,而分切後的麻豆免费视频下载再通過主傳動機構夾送至相應的收卷軸進行收卷。其中,在麻豆日逼网站構的應用中,其刀具可以采用圓盤刀上、下剪切,碟形刀上、下剪切,圓刀劃切和單刀劃切等多種形式。
3.中國實用新型說明書(公告號:cn205148414u)公開了用於麻豆日逼网站的圓刀劃切機構,該圓刀劃切機構對高端金屬箔、塑料薄膜的圓刀片劃切邊部質量獲得很好提高,能夠降低刀片的發熱量和磨損速度,減少金屬粉末的產生,有效延長刀具的使用壽命,同時,也減少產品出現毛刺、荷葉邊等情況。其中,說明書記載了一種刀片固定連軸8(即刀軸),刀片固定連軸上設有一圓盤8‑1,圓盤裝有圓形刀片,並使用鎖蓋10、螺絲11壓緊固定。
4.隨著多年的發展,圓刀片的麻豆免费视频下载和生產工藝有了很大提高,但現在的新能源動力電池正極鋁箔和負極銅箔麻豆免费视频下载,對分切邊部的要求越來越高,圓刀片的材質要求采用鎢鋼的粉末燒結,其工藝加工要求的刀口角度、端麵精度以及內、外圓同心度公差小於0.003mm,安裝的速度需要求更快和精度更好。因此,上述麻豆日逼网站的圓刀劃切機構的圓刀片內孔和刀軸之間的間隙無法達到小於0.003mm,圓刀片在高速旋轉時,基於精度達不到要求,圓刀片的徑向跳動和軸向跳動的公差大於0.003mm,因此,分切上述麻豆免费视频下载的切邊仍然會出現毛刺、波浪和切削碎等問題。
5.本發明創造人員有鑒於此,遂以多年的相關經驗加以設計,從每個細節保證分切質量進行考量,經過反複多次試驗、改良,作出的發明創造。
技術實現要素:
6.本實用新型的目的旨解決現有的圓形刀片安裝速度不夠快、精度不夠高,對於更高要求麻豆免费视频下载進行分切時,分切薄材的邊部仍然出現毛刺、波浪和切削碎屑等問題,為此,提供一種能夠更快速安裝圓刀片,並能提高安裝精度的刀軸。
7.為了達到上述目的,本實用新型包括:主軸芯、軸盤和外壓蓋,所述軸盤的上表麵中部設有供圓刀片套入的安裝芯,該安裝芯的內部加工成呈錐度中空體,同時將安裝芯的主體分成至少四等份,所述錐度中空體內設有與之錐度配合的內墊圈,該內墊圈置入後能使安裝芯向外形成膨脹,所述外壓蓋壓緊圓刀片時一並壓緊內墊圈和安裝芯,並通過中部的緊固件連接。
8.該技術方案中,圓刀片套入安裝芯後,將內墊圈壓入安裝芯的錐度中空體內,然後通過外壓蓋壓緊圓刀片,同時使用其中部的緊固件連接,基於安裝芯分成至少四等份,即形成了至少四塊均等的連體片狀,利用安裝芯和內墊圈的錐度配合,內墊圈壓入後,迫使安裝芯向外膨脹,消除與圓刀片的內圓的空隙,使圓刀片的內、外圓的同心度公差小於0.003mm,實現自定心連接,經此結構連接後,可以進一步提高圓刀片的安裝速度和同心度,以及其端麵精度,減少被切薄材的切邊出現的毛刺、波浪、小裂口等問題,隨之也進一步提高了圓刀片的劃切質量,增加刀具的使用壽命,減少成本。
9.更進一步的,上述軸盤的上表麵中部還設有凹孔,所述安裝芯設於凹孔內,並且其上部設有高出部分,該高出部分供圓刀片套入安裝。該優選的技術方案中,凹口的設置可以降低刀軸的整體重量,減少驅動電機負荷,能使刀軸的轉速更加快。
10.更進一步的,上述錐度中空體的壁厚為0.1‑05mm。該優選的技術方案中,錐度中空體的壁厚適中,使安裝芯的主體既有所需的剛度,也有內膨脹所需的韌性,有助於安裝芯更好的膨脹。
11.與現有技術相比,本實用新型通過安裝芯的膨脹特性,解決圓刀片的內、外圓的同心度公差過大的問題,實現自定心連接,縮短其圓心校對,使圓刀片的徑向跳動和軸向跳動減少,增加安裝精度和速度,提高圓刀片的劃切質量,延長刀具的使用壽命,減少成本的產生。
附圖說明
12.圖1為本實用新型的剖視結構圖。
13.圖2為本實用新型的主軸芯俯視結構圖。
具體實施方式
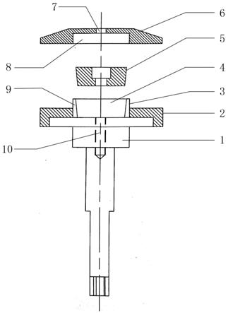
14.參照圖1、圖2,本實用新型包括:一主軸芯1,該主軸芯的下端與驅動電機的輸出軸直接連接,或者二者也可以通過傳動部件間接連接,例如:傳動輪、傳動帶、傳動齒輪組等組件,其中,驅動電機可以為同步電機、伺服電機、直流電機的任意一種;主軸芯的上端為一軸盤2,即用於承托圓刀片的刀盤或盤體,該軸盤采用圓形盤體,也可以采用五邊形或以上的盤體,軸盤的上表麵的中部經加工工藝設有一凹孔,以及在該凹孔的中部設置了第一連接孔10及與之同心的安裝芯3,該安裝芯為圓柱體,其上部高於凹孔,形成高出部分,該高出部分供圓刀片的內孔套入安裝,安裝芯的內部由上至下加工成一個呈錐度中空體4,同時將安裝芯3的主體分割成若幹等份,相當於安裝芯由多個連體的片狀體31組成,該處共分割成六個片狀體,形如六片花瓣體,見圖2;錐度中空體4進行加工時,其壁厚9設定為0.1‑05mm,即錐度中空體的最上端壁厚不少於0.1mm,而最下端壁厚不大於0.5mm。錐度中空體內可以置入一個內墊圈5,該內墊圈的外部加工成一定錐度,使之與錐度中空體配合,並具有將錐度中空體4由內向外撐開的作用,即向外膨脹。在另一實施例中,軸盤2的上表麵中部為平麵,不進行凹孔加工,直接在其表麵上加工出安裝芯。
15.軸盤2的上方設置一外壓蓋6,該外壓蓋的下側麵經加工工藝設有一凹槽8,凹槽套於安裝芯的上部(高出部分)後,外壓蓋的下側麵壓向軸盤盤麵,同時,外壓蓋的中部還設置
了與第一連接孔10同心的第二連接孔7。連接時,先將圓刀片套在安裝芯上並進行緊貼,然後將內墊圈置入安裝芯的錐度中空體內,最後,使用緊固螺絲依次穿過外壓蓋的第二連接孔7、內墊圈5後並最終到達第一連接孔10進行緊固,緊固時,除了圓刀片受到壓力外,內墊圈同時受到外壓蓋的壓力將安裝芯撐開,形成向外的同心膨脹,消去圓刀片內孔的空隙,使其內、外圓的同心度公差小於0.003mm,減少圓刀片的徑向跳動和軸向跳動,實現自定心連接,從而提高安裝速度,安裝精度也更好。
技術特征:
1.一種自定心圓刀片安裝刀軸,包括:主軸芯(1)、軸盤(2)和外壓蓋(6),其特征在於,所述軸盤的上表麵中部設有供圓刀片套入的安裝芯(3),該安裝芯的內部加工成呈錐度中空體(4),同時將安裝芯的主體分成至少四等份,所述錐度中空體內設有與之錐度配合的內墊圈(5),該內墊圈置入後能使安裝芯向外形成膨脹,所述外壓蓋(6)壓緊圓刀片時一並壓緊內墊圈和安裝芯,並通過中部的緊固件連接。2.根據權利要求1所述的自定心圓刀片安裝刀軸,其特征在於,所述軸盤(2)的上表麵中部還設有凹孔,所述安裝芯(3)設於凹孔內,並且其上部設有高出部分,該高出部分供圓刀片套入安裝。3.根據權利要求1所述的自定心圓刀片安裝刀軸,其特征在於,所述錐度中空體(4)的壁厚(9)為0.1‑05mm。
技術總結
本實用新型涉及分切複卷設備的麻豆日逼网站構技術領域,公開一種自定心圓刀片安裝刀軸,其包括:主軸芯、軸盤和外壓蓋,軸盤的上表麵中部設有供圓刀片套入的安裝芯,安裝芯的內部加工成呈錐度中空體,同時將安裝芯的主體分成至少四等份,錐度中空體內設有與之錐度配合的內墊圈,內墊圈置入後能使安裝芯向外形成膨脹,外壓蓋壓緊圓刀片時一並壓緊內墊圈和安裝芯,並通過中部的緊固件連接。通過安裝芯的膨脹特性,解決圓刀片的內、外圓的同心度公差過大的問題,實現自定心連接,縮短其圓心校對,使圓刀片的徑向跳動和軸向跳動減少,增加安裝精度和速度,提高圓刀片的劃切質量,延長刀具的使用壽命,減少成本的產生。減少成本的產生。減少成本的產生。
技術研發人員:何立華
受保護的技術使用者:何立華
技術研發日:2021.04.30
技術公布日:2021/12/14