服務熱線
180-5003-0233

本實用新型屬於金屬加工設備領域,具體涉及一種電池箔麻豆日逼网站潤滑剪切裝置。
背景技術:
目前在電池鋁箔行業內,麻豆日逼网站剪切裝置伺服圓刀在切邊時潤滑效果欠佳,出現端部毛刺,影響產品質量,由於用潤滑油潤滑會導致邊部發黃,遂會考慮酒精的潤滑,但現有的酒精潤滑均為手動,無法做到精確控製潤滑量。
技術實現要素:
因此,為了克服上述現有技術的缺點,本實用新型提供一種電池箔麻豆日逼网站潤滑剪切裝置,以提高精度,可滿足更高端的產品需求。
為了實現上述目的,提供一種電池箔麻豆日逼网站潤滑剪切裝置,包括:
電池箔麻豆日逼网站潤滑剪切裝置本體;
設置於所述麻豆日逼网站本體上的刀槽輥;
刀架,所述刀架設置於所述刀槽輥的一側,所述刀架能夠相對於所述刀槽輥左右移動;
圓刀,所述圓刀設置於所述刀架上,且所述刀槽輥上設置有與所述圓刀配合的刀槽;
蠕動泵和潤滑劑傳送管道,所述潤滑劑傳送管道包括第一端以及與所述第一端相對的第二端,所述潤滑劑傳送管道的第一端與所述蠕動泵連接,所述潤滑劑傳送管道的第二端與所述圓刀連接,從而將蠕動泵泵送的潤滑劑施加於所述圓刀上。
進一步地,還包括相互連接的傳感裝置和控製裝置,所述傳感裝置監控施加於所述圓刀表麵的潤滑劑,並將傳感信號發送至所述控製裝置,所述控製裝置控製所述蠕動泵的潤滑劑泵送速度。
進一步地,還包括潤滑劑施加裝置,所述潤滑劑施加裝置與所述潤滑劑傳送管道的第二端連通,且與所述圓刀接觸,用於對所述圓刀施加潤滑劑。
進一步地,還包括潤滑劑存儲裝置,所述潤滑劑存儲裝置與所述蠕動泵連通。
進一步地,所述潤滑劑施加裝置包括海綿。
進一步地,潤滑劑存儲裝置包括潤滑劑存儲容器和容器卡槽,所述潤滑劑存儲容器卡接於所述容器卡槽內。
進一步地,還包括刀架導軌,所述刀架設置於所述刀架導軌上,能夠沿所述刀架導軌往複移動。
進一步地,還包括放卷機構、張力輥和收卷機構,電池箔經放卷機構開卷後通過張力輥導入麻豆日逼网站構進行分切,完成分切的電池箔最終通過收卷機構進行卷取。
進一步地,所述潤滑劑包括酒精。
與現有技術相比,本實用新型利用潤滑劑對伺服圓刀潤滑,潤滑劑通過蠕動泵,輸送到伺服刀架上方的潤滑劑施加裝置,潤滑劑在潤滑劑施加裝置上吸附,然後對刀片進行潤滑,蠕動泵可控製潤滑劑的滴落速度,可達到精確控製潤滑的效果,能夠較好地實現潤滑效果。且成本低,有利於實現批量化作業生產。
附圖說明
圖1為本實用新型一個實施例中的電池箔麻豆日逼网站潤滑剪切裝置的示意圖。
具體實施方式
為使本實用新型的目的、技術方案和優點更加清楚明白,以下結合具體實施例,並參照附圖,對本實用新型進一步詳細說明。
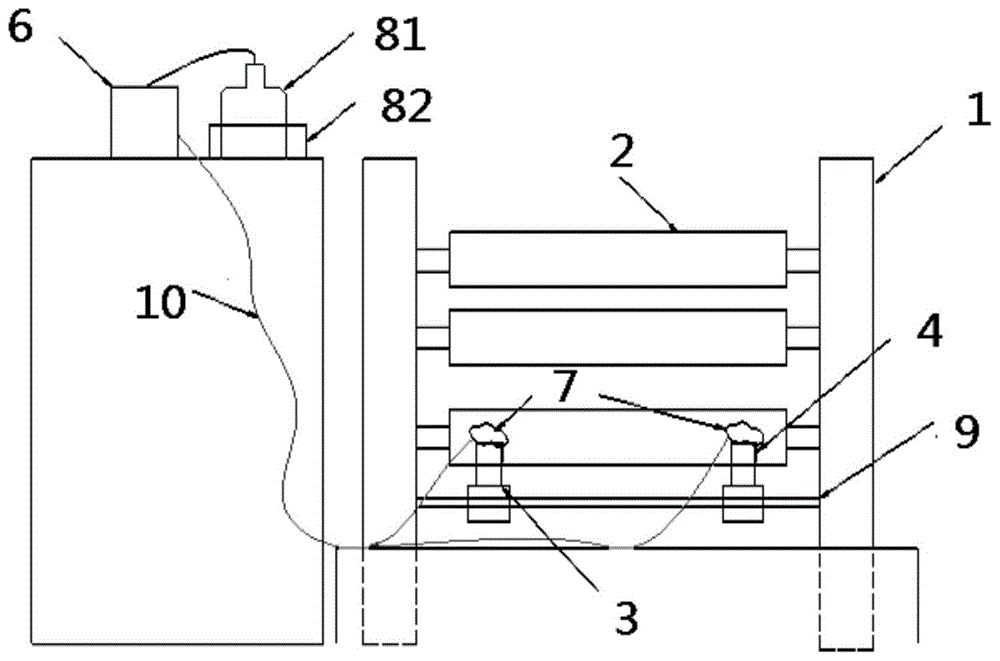
在本實用新型的一個實施例中,如圖1所示,一種電池箔麻豆日逼网站潤滑剪切裝置,包括電池箔麻豆日逼网站潤滑剪切裝置本體1;
設置於所述麻豆日逼网站本體1上的刀槽輥2;
刀架3,所述刀架3設置於所述刀槽輥2的一側,所述刀架3能夠相對於所述刀槽輥2左右移動;
圓刀4,所述圓刀4設置於所述刀架3上,且所述刀槽輥2上設置有與所述圓刀4配合的刀槽5;
蠕動泵6和潤滑劑傳送管道10,所述潤滑劑傳送管道10包括第一端以及與所述第一端相對的第二端,所述潤滑劑傳送管道10的第一端與所述蠕動泵6連接,所述潤滑劑傳送管道10的第二端與所述圓刀4連接,從而將蠕動泵6泵送的潤滑劑施加於所述圓刀4上。
在一個實施例中,還包括相互連接的傳感裝置和控製裝置,所述傳感裝置監控施加於所述圓刀4表麵的潤滑劑,並將傳感信號發送至所述控製裝置,所述控製裝置控製所述蠕動泵6的潤滑劑泵送速度。
在一個實施例中,還包括潤滑劑施加裝置7,所述潤滑劑施加裝置7與所述潤滑劑傳送管道10的第二端連通,且與所述圓刀4接觸,用於對所述圓刀4施加潤滑劑。
在一個實施例中,還包括潤滑劑存儲裝置8,所述潤滑劑存儲裝置8與所述蠕動泵6連通。
在一個實施例中,所述潤滑劑施加裝置7包括海綿。
在一個實施例中,潤滑劑存儲裝置8包括潤滑劑存儲容器81和容器卡槽82,所述潤滑劑存儲容器81卡接於所述容器卡槽82內。
在一個實施例中,還包括刀架導軌9,所述刀架3設置於所述刀架導軌9上,能夠沿所述刀架導軌9往複移動。
在一個實施例中,還包括放卷機構、張力輥和收卷機構,電池箔經放卷機構開卷後通過張力輥導入麻豆日逼网站構進行分切,完成分切的電池箔最終通過收卷機構進行卷取。
在一個實施例中,所述潤滑劑包括酒精。
以上所述僅為本實用新型的較佳實施例而已,並不用以限製本實用新型,凡在本實用新型的精神和原則之內所作的任何修改、等同替換和改進等,均應包含在本實用新型的保護範圍之內。以上所述僅是本實用新型的優選實施方式,應當指出,對於本技術領域的普通技術人員來說,在不脫離本實用新型技術原理的前提下,還可以做出若幹改進和變型,這些改進和變型也應視為本實用新型的保護範圍。
技術特征:
1.一種電池箔麻豆日逼网站潤滑剪切裝置,其特征在於,包括電池箔麻豆日逼网站潤滑剪切裝置本體;設置於所述麻豆日逼网站本體上的刀槽輥;刀架,所述刀架設置於所述刀槽輥的一側,所述刀架能夠相對於所述刀槽輥左右移動;圓刀,所述圓刀設置於所述刀架上,且所述刀槽輥上設置有與所述圓刀配合的刀槽;蠕動泵和潤滑劑傳送管道,所述潤滑劑傳送管道包括第一端以及與所述第一端相對的第二端,所述潤滑劑傳送管道的第一端與所述蠕動泵連接,所述潤滑劑傳送管道的第二端與所述圓刀連接,從而將蠕動泵泵送的潤滑劑施加於所述圓刀上。
2.如權利要求1所述的電池箔麻豆日逼网站潤滑剪切裝置,其特征在於,還包括相互連接的傳感裝置和控製裝置,所述傳感裝置監控施加於所述圓刀表麵的潤滑劑,並將傳感信號發送至所述控製裝置,所述控製裝置控製所述蠕動泵的潤滑劑泵送速度。
3.如權利要求1所述的電池箔麻豆日逼网站潤滑剪切裝置,其特征在於,還包括潤滑劑施加裝置,所述潤滑劑施加裝置與所述潤滑劑傳送管道的第二端連通,且與所述圓刀接觸,用於對所述圓刀施加潤滑劑。
4.如權利要求1所述的電池箔麻豆日逼网站潤滑剪切裝置,其特征在於,還包括潤滑劑存儲裝置,所述潤滑劑存儲裝置與所述蠕動泵連通。
5.如權利要求3所述的電池箔麻豆日逼网站潤滑剪切裝置,其特征在於,所述潤滑劑施加裝置包括海綿。
6.如權利要求4所述的電池箔麻豆日逼网站潤滑剪切裝置,其特征在於,潤滑劑存儲裝置包括潤滑劑存儲容器和容器卡槽,所述潤滑劑存儲容器卡接於所述容器卡槽內。
7.如權利要求1所述的電池箔麻豆日逼网站潤滑剪切裝置,其特征在於,還包括刀架導軌,所述刀架設置於所述刀架導軌上,能夠沿所述刀架導軌往複移動。
8.如權利要求1所述的電池箔麻豆日逼网站潤滑剪切裝置,其特征在於,還包括放卷機構、張力輥和收卷機構,電池箔經放卷機構開卷後通過張力輥導入麻豆日逼网站構進行分切,完成分切的電池箔最終通過收卷機構進行卷取。
9.如權利要求1所述的電池箔麻豆日逼网站潤滑剪切裝置,其特征在於,所述潤滑劑包括酒精。
技術總結
本實用新型提供一種電池箔麻豆日逼网站潤滑剪切裝置,包括電池箔麻豆日逼网站潤滑剪切裝置本體;設置於所述麻豆日逼网站本體上的刀槽輥;刀架,所述刀架設置於所述刀槽輥的一側,所述刀架能夠相對於所述刀槽輥左右移動;圓刀,所述圓刀設置於所述刀架上,且所述刀槽輥上設置有與所述圓刀配合的刀槽;蠕動泵和潤滑劑傳送管道,所述潤滑劑傳送管道包括第一端以及與所述第一端相對的第二端,所述潤滑劑傳送管道的第一端與所述蠕動泵連接,所述潤滑劑傳送管道的第二端與所述圓刀連接,從而將蠕動泵泵送的潤滑劑施加於所述圓刀上。本實用新型潤滑劑通過蠕動泵,輸送到伺服刀架上方的潤滑劑施加裝置,潤滑劑在潤滑劑施加裝置上吸附,然後對刀片進行潤滑。
技術研發人員:樊文忠;胡誌遠;侯永林;張雄星;江輝;曾傑江
受保護的技術使用者:杭州五星鋁業有限公司
技術研發日:2019.12.28
技術公布日:2020.10.20