服務熱線
180-5003-0233

本實用新型涉及加工設備技術領域,具體為一種醫療口罩生產熔噴布麻豆日逼网站。
背景技術:
麻豆日逼网站是一種將寬幅紙張、雲母帶或薄膜分切成多條窄幅麻豆免费视频下载的機械設備,常用於造紙機械、電線電纜雲母帶及印刷包裝機械。
現有的熔噴布麻豆日逼网站在送料切割時,是用氣缸將熔噴布推著進入切割刀下,切割完成後,繼續推著用後麵將已切割的部分頂走,繼續下一次切割,在推的過程中,最外層熔噴布與工作台摩擦,很容易損壞和汙染,使產品質量降低。為此,麻豆直播传媒下载提出一種醫療口罩生產熔噴布麻豆日逼网站。
技術實現要素:
本實用新型的目的在於提供一種醫療口罩生產熔噴布麻豆日逼网站,以解決上述背景技術中提出的問題。
為實現上述目的,本實用新型提供如下技術方案:一種醫療口罩生產熔噴布麻豆日逼网站,包括工作台,所述工作台底部裝有對熔噴布進行搬運的搬運裝置。
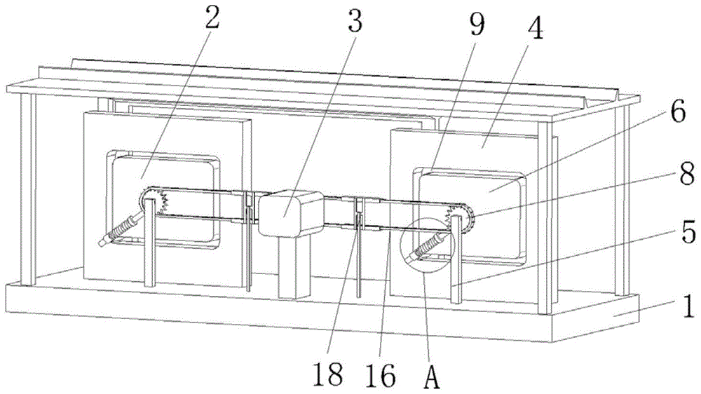
優選的,所述搬運裝置包括支撐板、支撐件、限位板、轉動軸和從動齒輪,所述支撐板設有兩個,且為中空板狀,兩個所述支撐板與工作台底部固定,所述限位板四邊與支撐板內壁間隔有滑槽,且中心處與支撐件一端固定,所述支撐件另一端與工作台固定,所述轉動軸轉動穿過支撐件與限位板轉動連接,所述從動齒輪轉動穿過支撐件與轉動軸固定,所述轉動軸上固定裝有轉動杆,所述轉動杆上滑動連接滑柱,所述滑柱穿過滑槽,且一端轉動連接有支撐杆,所述支撐杆一端固定裝有托盤,所述工作台頂部正對托盤開有運輸槽,所述從動齒輪上連接有動力裝置,通過搬運裝置可以實現熔噴布的托起運輸。
優選的,所述動力裝置包括電機、傳動齒輪和鏈條,所述鏈條套在兩從動齒輪上,且與從動齒輪齧合,所述電機位於鏈條中間,且固定裝有支撐柱,所述支撐柱一端與工作台固定,所述電機輸出端固定傳動齒輪,所述傳動齒輪與鏈條齧合,通過動力裝置,可以給搬運裝置提供動力。
優選的,所述鏈條上滑動連接有限位件,所述限位件設有兩個,分別位於傳動齒輪兩側,且一端與工作台固定,通過限位件可以使鏈條與傳動齒輪齧合的更好。
優選的,所述轉動杆上固定裝有限位塊,所述限位塊與滑柱之間固定裝有彈簧,通過彈簧可以在搬運熔噴布時,減輕滑柱對限位板的壓力,從而減小滑柱滑動時的摩擦力。
與現有技術相比,本實用新型的有益效果是:
本實用新型在搬運熔噴布時,不在是用氣缸直接推動前進,而是先升起,離開工作台,再往前搬運,搬運結束後從工作台底下回到原點,進行下一輪的搬運,使熔噴布最外側與工作台的不會產生摩擦,大大避免了熔噴被損壞和汙染。
附圖說明
圖1為本實用新型整體結構示意圖;
圖2為本實用新型結構示意圖;
圖3為本實用新型結構示意圖;
圖4為圖1中a區域放大圖。
圖中:1-工作台;2-搬運裝置;3-動力裝置;4-支撐板;5-支撐件;6-限位板;7-轉動軸;8-從動齒輪;9-滑槽;10-轉動杆;11-滑柱;12-支撐杆;13-托盤;14-電機;15-傳動齒輪;16-鏈條;17-支撐柱;18-限位件;19-限位塊;20-彈簧。
具體實施方式
下麵將結合本實用新型實施例中的附圖,對本實用新型實施例中的技術方案進行清楚、完整地描述,顯然,所描述的實施例僅僅是本實用新型一部分實施例,而不是全部的實施例。基於本實用新型中的實施例,本領域普通技術人員在沒有做出創造性勞動前提下所獲得的所有其他實施例,都屬於本實用新型保護的範圍。
請參閱圖1-4,本實用新型提供一種技術方案:一種醫療口罩生產熔噴布麻豆日逼网站,包括工作台1,所述工作台1底部裝有對熔噴布進行搬運的搬運裝置2。
搬運裝置2包括支撐板4、支撐件5、限位板6、轉動軸7和從動齒輪8,所述支撐板4設有兩個,且為中空板狀,兩個所述支撐板4與工作台1底部固定,所述限位板6四邊與支撐板4內壁間隔有滑槽9,且中心處與支撐件5一端固定,所述支撐件5另一端與工作台1固定,所述轉動軸7轉動穿過支撐件5與限位板6轉動連接,所述從動齒輪8轉動穿過支撐件5與轉動軸7固定,所述轉動軸7上固定裝有轉動杆10,所述轉動杆10上滑動連接滑柱11,所述滑柱11穿過滑槽9,且一端轉動連接有支撐杆12,所述支撐杆12一端固定裝有托盤13,所述工作台1頂部正對托盤13開有運輸槽,所述從動齒輪8上連接有動力裝置3,通過動力裝置3帶動從動齒輪8轉動,帶動轉動軸7與轉動杆10繞支撐件5轉動,使滑柱11在滑槽9中滑動,帶動支撐杆12與托盤13工作。
動力裝置3包括電機14、傳動齒輪15和鏈條16,所述鏈條16套在兩從動齒輪8上,且與從動齒輪8齧合,所述電機14位於鏈條16中間,且固定裝有支撐柱17,所述支撐柱17一端與工作台1固定,所述電機14輸出端固定傳動齒輪15,所述傳動齒輪15與鏈條16齧合。鏈條16上滑動連接有限位件18,所述限位件18設有兩個,分別位於傳動齒輪15兩側,且一端與工作台1固定,通過電機14轉動,帶動傳動齒輪15轉動,使鏈條16帶動從動齒輪8同步轉動。
鏈條16上滑動連接有限位件18,所述限位件18設有兩個,分別位於傳動齒輪15兩側,且一端與工作台1固定,通過限位件18可以使鏈條16與傳動齒輪15齧合的更好,防止傳動齒輪15與鏈條16之間打滑。
轉動杆10上固定裝有限位塊19,所述限位塊19與滑柱11之間固定裝有彈簧20,通過彈簧20可以在搬運熔噴布時,減輕滑柱11對限位板6的壓力,從而減小滑柱11滑動時的摩擦力。
本方案中:所述電機14轉動帶動傳動齒輪15轉動,使鏈條16帶動從動齒輪8同步轉動,所述傳動齒輪15轉動,帶動轉動軸7與轉動杆10繞支撐件5轉動,使滑柱11在滑槽9中滑動,帶動支撐杆12與托盤13工作,所述限位件18可以使鏈條16與傳動齒輪15齧合的更好,防止傳動齒輪15與鏈條16之間打滑,述所彈簧20可以在搬運熔噴布時,減輕滑柱11對限位板6的壓力,從而減小滑柱11滑動時的摩擦力。
本方案中:電機14優選y80m1-2型號,電動機的供電接口通過開關連接供電係統,電機運行電路為常規電機正反轉控製程序,電路運行為現有常規電路,本方案中涉及的電路以及控製均為現有技術,在此不進行過多贅述。
需要說明的是,在本文中,諸如第一和第二等之類的關係術語僅僅用來將一個實體或者操作與另一個實體或操作區分開來,而不一定要求或者暗示這些實體或操作之間存在任何這種實際的關係或者順序。而且,術語“包括”、“包含”或者其任何其他變體意在涵蓋非排他性的包含,從而使得包括一係列要素的過程、方法、物品或者設備不僅包括那些要素,而且還包括沒有明確列出的其他要素,或者是還包括為這種過程、方法、物品或者設備所固有的要素。
盡管已經示出和描述了本實用新型的實施例,對於本領域的普通技術人員而言,可以理解在不脫離本實用新型的原理和精神的情況下可以對這些實施例進行多種變化、修改、替換和變型,本實用新型的範圍由所附權利要求及其等同物限定。
技術特征:
1.一種醫療口罩生產熔噴布麻豆日逼网站,包括工作台(1),其特征在於:所述工作台(1)底部裝有對熔噴布進行搬運的搬運裝置(2),所述搬運裝置(2)包括支撐板(4)、支撐件(5)、限位板(6)、轉動軸(7)和從動齒輪(8),所述支撐板(4)設有兩個,且為中空板狀,兩個所述支撐板(4)與工作台(1)底部固定,所述限位板(6)四邊與支撐板(4)內壁間隔有滑槽(9),且中心處與支撐件(5)一端固定,所述支撐件(5)另一端與工作台(1)固定,所述轉動軸(7)轉動穿過支撐件(5)與限位板(6)轉動連接,所述從動齒輪(8)轉動穿過支撐件(5)與轉動軸(7)固定,所述轉動軸(7)上固定裝有轉動杆(10),所述轉動杆(10)上滑動連接滑柱(11),所述滑柱(11)穿過滑槽(9),且一端轉動連接有支撐杆(12),所述支撐杆(12)一端固定裝有托盤(13),所述工作台(1)頂部正對托盤(13)開有運輸槽,所述從動齒輪(8)上連接有動力裝置(3)。
2.根據權利要求1所述的一種醫療口罩生產熔噴布麻豆日逼网站,其特征在於:所述動力裝置(3)包括電機(14)、傳動齒輪(15)和鏈條(16),所述鏈條(16)套在兩從動齒輪(8)上,且與從動齒輪(8)齧合,所述電機(14)位於鏈條(16)中間,且固定裝有支撐柱(17),所述支撐柱(17)一端與工作台(1)固定,所述電機(14)輸出端固定傳動齒輪(15),所述傳動齒輪(15)與鏈條(16)齧合。
3.根據權利要求2所述的一種醫療口罩生產熔噴布麻豆日逼网站,其特征在於:所述鏈條(16)上滑動連接有限位件(18),所述限位件(18)設有兩個,分別位於傳動齒輪(15)兩側,且一端與工作台(1)固定。
4.根據權利要求1所述的一種醫療口罩生產熔噴布麻豆日逼网站,其特征在於:所述轉動杆(10)上固定裝有限位塊(19),所述限位塊(19)與滑柱(11)之間固定裝有彈簧(20)。
技術總結
本實用新型公開了一種醫療口罩生產熔噴布麻豆日逼网站,包括工作台,所述工作台底部裝有對熔噴布進行搬運的搬運裝置,所述搬運裝置包括支撐板、支撐件、限位板、轉動軸和從動齒輪,所述動力裝置包括電機、傳動齒輪和鏈條。此醫療口罩生產熔噴布麻豆日逼网站不在是用氣缸直接推動前進,而是先升起,離開工作台,再往前搬運,搬運結束後從工作台底下回到原點,進行下一輪的搬運,使熔噴布最外側與工作台的不會產生摩擦,大大避免了熔噴被損壞和汙染。
技術研發人員:張祖芬
受保護的技術使用者:張祖芬
技術研發日:2020.07.15
技術公布日:2020.11.17