服務熱線
180-5003-0233
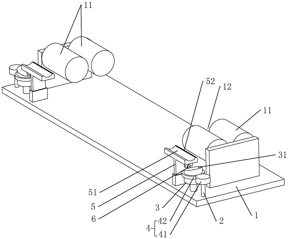
不幹膠麻豆日逼网站主要用於將整卷的不幹膠麻豆免费视频下载按照設定的長度和寬度進行精確切割。以下是不幹膠麻豆日逼网站的基本使用方法:
一、開機前的準備工作
1. 檢查設備:確保麻豆日逼网站的各部件完好無損,電源、氣壓等係統正常。
2. 調整參數:根據不幹膠麻豆免费视频下载的類型、厚度、長度和寬度等要求,調整麻豆日逼网站的相關參數,如切割深度、切割速度、張力等。
3. 安裝刀片:選擇合適的刀片,並按照說明書正確安裝在麻豆日逼网站的刀座上。確保刀片鋒利、無損壞,並固定牢固。

二、開機操作
1. 開啟電源:將麻豆日逼网站的電源開關打開,等待設備啟動。
2. 調整氣壓:根據不幹膠麻豆免费视频下载的切割要求,調整麻豆日逼网站的氣壓值。通常,氣壓值需要在一定範圍內保持穩定,以確保切割效果。
3. 上料:將整卷不幹膠麻豆免费视频下载放置在麻豆日逼网站的放卷架上,並根據麻豆免费视频下载的電暈麵內外選擇方向。然後,使用控製按鈕夾緊鋼芯,並調整放卷架的高度和角度,使麻豆免费视频下载能夠勻速或快速轉動。
三、切割操作
1. 啟動設備:按下麻豆日逼网站的啟動按鈕,設備開始運轉。此時,應密切監控設備的運行狀態和切割效果。
2. 調整切割效果:在切割過程中,根據實際需要調整切割深度、切割速度、張力等參數,以獲得最佳的切割效果。同時,還需注意監控邊料牽引輥、導邊等部件的運行狀態,確保切割過程的穩定性和準確性。
3. 自動停車:當不幹膠麻豆免费视频下载運行到設定的長度時,麻豆日逼网站會自動停車。此時,可以按下卸膜按鈕將切割好的麻豆免费视频下载放在準備好的卸膜小車上,並進行封口處理。
四、停機與清理
1. 停機:完成切割任務後,按下麻豆日逼网站的停機按鈕,使設備停止運轉。然後關閉電源和氣源開關。
2. 清理設備:對麻豆日逼网站進行清理和維護工作,包括清理刀片、刀座上的殘留物,檢查並更換損壞的部件等。確保設備處於良好的工作狀態。
五、注意事項
1. 安全操作:在操作麻豆日逼网站時,應嚴格遵守安全操作規程,如穿戴好防護用品、禁止觸摸傳動部件等。同時,還需注意設備周圍的安全環境,確保無小孩或無關人員進入工作區域。
2. 維護保養:定期對麻豆日逼网站進行維護保養工作,如檢查並更換刀片、清理潤滑係統等。這有助於延長設備的使用壽命並提高切割效果。
3. 故障處理:在使用過程中,如遇到設備故障或異常情況,應立即停機並聯係專業人員進行維修處理。切勿自行拆卸或修理設備以免造成更大的損失或安全隱患。
綜上所述,不幹膠麻豆日逼网站的使用方法包括開機前的準備工作、開機操作、切割操作、停機與清理以及注意事項等多個方麵。在使用時,應嚴格按照說明書和安全操作規程進行操作以確保設備的正常運行和切割效果。