服務熱線
180-5003-0233

本實用新型屬於金屬加工設備領域,具體涉及一種電池箔麻豆日逼网站專用刀槽輥定位裝置。
背景技術:
目前行業內現有的電池鋁箔麻豆日逼网站沒有專用的刀槽定位輥,由於產品規格較多,且某些產品的尺寸比較特殊,所以在圓盤刀定位時出現比較麻煩、定位不準確的現象出現,造成產品的生產成本較高。
技術實現要素:
因此,為了克服上述現有技術的缺點,本實用新型提供一種電池箔麻豆日逼网站專用刀槽輥定位裝置,以減少定位時間,提高定位準確性。
為了實現上述目的,提供一種電池箔麻豆日逼网站專用刀槽輥定位裝置,
包括電池箔麻豆日逼网站專用刀槽輥定位裝置本體;
設置於所述麻豆日逼网站本體上的刀槽輥;
設置於所述麻豆日逼网站本體上的分卷導輥;
刀架,所述刀架設置於所述刀槽輥的一側,所述刀架能夠相對於所述刀槽輥左右移動;
分切刀,所述分切刀設置於所述刀架上,且所述刀槽輥上設置有與所述分切刀配合的兩個以上的分切刀定位結構,所述分切刀
定位結構能夠限定所述分切刀在所述刀槽輥上的位置,從而限定所述電池箔的分切寬度。
進一步地,還包括控製裝置,所述控製裝置根據電池箔的預設分切寬度,控製所述刀架帶動分切刀移動至所述分切刀定位結構,從而限定所述電池箔的分切寬度。
進一步地,還包括刀架導軌,所述刀架設置於所述刀架導軌上,能夠沿所述刀架導軌往複移動。
進一步地,還包括放卷機構、張力輥和收卷機構,電池箔經放卷機構開卷後通過張力輥導入麻豆日逼网站構進行分切,完成分切的電池箔最終通過收卷機構進行卷取。
進一步地,所述分切刀定位結構包括位於所述刀槽輥表麵的定位刀槽。
進一步地,所述定位刀槽的寬度為1mm。
與現有技術相比,本實用新型的電池箔麻豆日逼网站專用刀槽輥定位裝置,在鋼輥表麵加工刀槽,可根據產品規格需求自由調整切刀的位置,可根據兩個不同刀槽的距離及位置改變剪切寬度,提高了產品結構的合理性、使用的可靠性和簡便性,有效提高了生產效率。且成本低,有利於實現批量化作業生產。
附圖說明
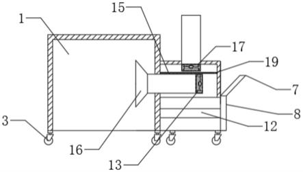
圖1為本實用新型一個實施例中的電池箔麻豆日逼网站專用刀槽輥定位裝置的示意圖。
具體實施方式
為使本實用新型的目的、技術方案和優點更加清楚明白,以下結合具體實施例,並參照附圖,對本實用新型進一步詳細說明。
在本實用新型的一個實施例中,如圖1所示,提供一種電池箔麻豆日逼网站專用刀槽輥定位裝置,
包括電池箔麻豆日逼网站專用刀槽輥定位裝置本體1;
設置於所述麻豆日逼网站本體1上的刀槽輥2;
設置於所述麻豆日逼网站本體1上的分卷導輥3;
刀架,所述刀架設置於所述刀槽輥2的一側,所述刀架能夠相對於所述刀槽輥2左右移動;
分切刀,所述分切刀設置於所述刀架上,且所述刀槽輥2上設置有與所述分切刀配合的兩個以上的分切刀定位結構4,所述分切刀定位結構4能夠限定所述分切刀在所述刀槽輥2上的位置,從而限定所述電池箔的分切寬度。
為了進一步提高生產效率和分切精確性,在一個實施例中,還包括控製裝置,所述控製裝置根據電池箔的預設分切寬度,控製所述刀架帶動分切刀移動至所述分切刀定位結構4,從而限定所述電池箔的分切寬度。
在一個實施例中,上述麻豆日逼网站還包括刀架導軌,所述刀架設置於所述刀架導軌上,能夠沿所述刀架導軌往複移動。
在一個實施例中,還包括放卷機構、張力輥和收卷機構,電池箔經放卷機構開卷後通過張力輥導入麻豆日逼网站構進行分切,完成分切的電池箔最終通過收卷機構進行卷取。
在一個實施例中,所述分切刀定位結構4包括位於所述刀槽輥2表麵的定位刀槽41。
在一個實施例中,所述定位刀槽的寬度為1mm,不同的刀槽之間可以剪切不同規格寬度,減少大量工時,實現精準定位剪切。
以上所述僅為本實用新型的較佳實施例而已,並不用以限製本實用新型,凡在本實用新型的精神和原則之內所作的任何修改、等同替換和改進等,均應包含在本實用新型的保護範圍之內。以上所述僅是本實用新型的優選實施方式,應當指出,對於本技術領域的普通技術人員來說,在不脫離本實用新型技術原理的前提下,還可以做出若幹改進和變型,這些改進和變型也應視為本實用新型的保護範圍。
技術特征:
1.一種電池箔麻豆日逼网站專用刀槽輥定位裝置,其特征在於,包括電池箔麻豆日逼网站專用刀槽輥定位裝置本體;設置於所述麻豆日逼网站本體上的刀槽輥;設置於所述麻豆日逼网站本體上的分卷導輥;刀架,所述刀架設置於所述刀槽輥的一側,所述刀架能夠相對於所述刀槽輥左右移動;分切刀,所述分切刀設置於所述刀架上,且所述刀槽輥上設置有與所述分切刀配合的兩個以上的分切刀定位結構,所述分切刀定位結構能夠限定所述分切刀在所述刀槽輥上的位置,從而限定所述電池箔的分切寬度。
2.如權利要求1所述的電池箔麻豆日逼网站專用刀槽輥定位裝置,其特征在於,還包括控製裝置,所述控製裝置根據電池箔的預設分切寬度,控製所述刀架帶動分切刀移動至所述分切刀定位結構,從而限定所述電池箔的分切寬度。
3.如權利要求1所述的電池箔麻豆日逼网站專用刀槽輥定位裝置,其特征在於,還包括刀架導軌,所述刀架設置於所述刀架導軌上,能夠沿所述刀架導軌往複移動。
4.如權利要求1所述的電池箔麻豆日逼网站專用刀槽輥定位裝置,其特征在於,還包括放卷機構、張力輥和收卷機構,電池箔經放卷機構開卷後通過張力輥導入麻豆日逼网站構進行分切,完成分切的電池箔最終通過收卷機構進行卷取。
5.如權利要求1所述的電池箔麻豆日逼网站專用刀槽輥定位裝置,其特征在於,所述分切刀定位結構包括位於所述刀槽輥表麵的定位刀槽。
6.如權利要求5所述的電池箔麻豆日逼网站專用刀槽輥定位裝置,其特征在於,所述定位刀槽的寬度為1mm。
技術總結
本實用新型提供一種電池箔麻豆日逼网站專用刀槽輥定位裝置,包括電池箔麻豆日逼网站專用刀槽輥定位裝置本體;設置於所述麻豆日逼网站本體上的刀槽輥;設置於所述麻豆日逼网站本體上的分卷導輥;刀架,所述刀架設置於所述刀槽輥的一側,所述刀架能夠相對於所述刀槽輥左右移動;分切刀,所述分切刀設置於所述刀架上,且所述刀槽輥上設置有與所述分切刀配合的兩個以上的分切刀定位結構,所述分切刀定位結構能夠限定所述分切刀在所述刀槽輥上的位置,從而限定所述電池箔的分切寬度。可根據產品規格需求自由調整切刀的位置,可根據兩個不同刀槽的距離及位置改變剪切寬度,提高了產品結構的合理性、使用的可靠性和簡便性,有效提高了生產效率。且成本低,有利於實現批量化作業生產。
技術研發人員:顧俊;李飛;周碧福
受保護的技術使用者:杭州五星鋁業有限公司
技術研發日:2019.12.27
技術公布日:2020.12.08